
本发明涉及包装盒印刷,尤其涉及包装盒环保印刷工艺及印刷装置。
背景技术:
1、包装盒就是用来包装产品的盒子。包装盒按材料来分类可分为纸盒、铁盒、木盒、皮盒等,它保护产品,使产品在离开工厂到消费者手中的流通过程中,防止生物的、化学的、物理的外来因素的损害,它也可以有保持产品本身稳定质量的功能,它方便产品的使用,又是首先表现产品外观、吸引消费的形象,具有物质成本以外的价值,在产品包装袋的生产过程中,一般会在外部印刷各种图案、广告和说明,以达到宣传、展示的效果。
2、现有的包装盒在印刷时,通常通过人工将包装盒印刷面一一擦拭后放上输送带,通过输送带一一运输到印刷机构下方进行印刷,这样通过人工一一对包装盒擦拭然后上料不仅人工工作量较大,同时包装盒的印刷效率较低。
技术实现思路
1、本发明针对现有技术的不足,提供了包装盒环保印刷工艺及印刷装置。
2、本发明通过以下技术手段实现解决上述技术问题的:
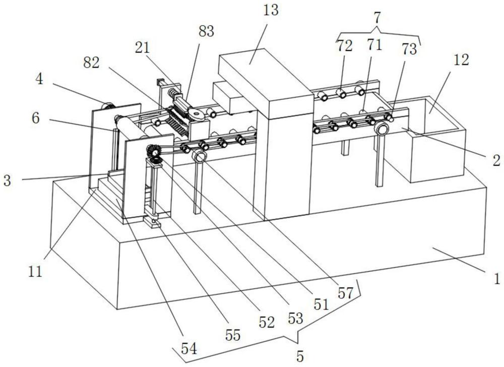
3、包装盒环保印刷装置,包括底座,所述底座上方设置有输送带,所述输送带上方两侧固定安装有支撑板,所述底座上方设置有支撑架,所述支撑架上固定安装有电机,其特征在于:所述支撑架上方设置有用于存放并带动包装盒上升的存放架,所述支撑架上方设置有用于推动包装盒上输送带上方的上料辊,所述支撑板上设置有用于对输送的包装盒限制固定的固定组件,所述支撑板上设置有用于对包装盒清洁以及自清洁的清洁组件,所述电机与上料辊、存放架、固定组件和清洁组件之间设置有传动组件。
4、优选的,所述所述传动组件包括转动轴,所述转动轴与支撑架转动连接,所述转动轴固定安装在电机输出端上,所述转动轴上固定安装有上料辊。
5、优选的,所述传动组件还包括支撑块,所述支撑块一侧固定安装有滑动块,所述滑动块与支撑架滑动连接。
6、优选的,所述支撑架一侧转动连接有螺纹杆,所述支撑块另一侧固定安装有升降块,所述升降块螺纹套接在螺纹杆上,所述螺纹杆与转动轴之间设置有第一锥齿轮组。
7、优选的,所述固定组件包括主动压辊、从动压辊和转动杆,所述转动杆转动连接在一侧支撑板上,所述从动压辊转动连接在另一侧支撑板上,所述转动杆上固定安装有主动压辊,所述转动杆与转动轴之间设置有第一皮带轮组,且多个所述转动杆之间也设置有第一皮带轮组。
8、优选的,所述清洁组件包括第一连接杆,所述第一连接杆与支撑板转动连接,所述第一连接杆与转动轴之间设置有第二皮带轮组,所述第一连接杆上固定安装有清洁毛刷,所述支撑板上转动连接有第二连接杆,所述第一连接杆与第二连接杆之间设置有第二锥齿轮组,所述第二连接杆上固定安装有传动板。
9、优选的,所述清洁组件还包括推动杆,所述推动杆与支撑板滑动连接,所述推动杆上固定安装有卡接板,所述推动杆上套设有弹簧,所述推动杆下方固定安装有第二清洁毛刷。
10、优选的,所述底座上方一侧设置有收料箱,所述底座上方设置有印刷机构。
11、一种包装盒环保印刷装置的印刷工艺,包括以下步骤:
12、s1:准备工作,将待印刷包装盒堆积好堆放在支撑架,同时启动电机和输送带;
13、s2:上料及清洁,电机通过传动组件带动上料辊转动,同时电机通过传动组件带动存放架不断上升,上料辊将堆放的包装盒一一推送上输送带上方,同时电机通过传动组件带动清洁组件工作,清洁组件对穿过的包装盒上灰尘进行清理;
14、s3:开始印刷,输送带将包装盒运输到印刷机构下方,通过印刷机构对包装盒进行印刷,并且电机通过传动组件带动一侧主动压辊转动,通过主动压辊和从动压辊对包装盒两侧下压限制固定;
15、s4:下料收集,输送带将印刷好的包装盒向前移动,包装盒移动到输送带一端掉落到下方收料箱内部收集。
16、本发明的有益效果:
17、1、启动电机,电机通过传动组件带动上料辊转动,同时电机通过传动组件带动存放架上升,上料辊转动将包装盒推上输送带上方,同时存放架带动堆积的包装盒不断上升,上料辊每推动一个包装盒上输送带上方,存放架就会上升一个包装盒的高度,这样可以实现对一批包装盒自动上料,降低人工工作量,提高了印刷效率。
18、2、电机通过传动组件会带动第一清洁毛刷转动,第二清洁毛刷进行往复左右移动,第一清洁毛刷对穿过的包装盒上方进行清扫,第二清洁毛刷对第一清洁毛刷进行清理,将第一清洁毛刷上的灰尘清扫到输送带两侧,防止第一清洁毛刷上沾染过多灰尘影响到对包装盒的清洁效果,通过清洁毛刷将包装盒上灰尘清扫干净,防止影响到包装盒的印刷效果。
19、3、输送带两侧设置有主动压辊和从动压辊,电机工作时,通过传动组件会带动主动压辊转动,包装盒两侧处于主动压辊和从动压辊下方,通过主动压辊和从动压辊对包装盒两侧进行下压,实现对包装盒起到限制作用,这样印刷机构下降对包装盒进行印刷时,包装盒不会出现移动,可以防止包装盒印刷出现偏移的现象。
技术特征:
1.包装盒环保印刷装置,包括底座(1),所述底座(1)上方设置有输送带(2),所述输送带(2)上方两侧固定安装有支撑板(21),所述底座(1)上方设置有支撑架(11),所述支撑架(11)上固定安装有电机(4),其特征在于:所述支撑架(11)上方设置有用于存放并带动包装盒上升的存放架(3),所述支撑架(11)上方设置有用于推动包装盒上输送带(2)上方的上料辊(6),所述支撑板(21)上设置有用于对输送的包装盒限制固定的固定组件(7),所述支撑板(21)上设置有用于对包装盒清洁以及自清洁的清洁组件(8),所述电机(4)与上料辊(6)、存放架(3)、固定组件(7)和清洁组件(8)之间设置有传动组件(5)。
2.根据权利要求1所述的包装盒环保印刷装置,其特征在于:所述传动组件(5)包括转动轴(51),所述转动轴(51)与支撑架(11)转动连接,所述转动轴(51)固定安装在电机(4)输出端上,所述转动轴(51)上固定安装有上料辊(6)。
3.根据权利要求2所述的包装盒环保印刷装置,其特征在于:所述传动组件(5)还包括支撑块(54),所述支撑块(54)上固定安装有存放架(3),所述支撑块(54)一侧固定安装有滑动块(56),所述滑动块(56)与支撑架(11)滑动连接。
4.根据权利要求3所述的包装盒环保印刷装置,其特征在于:所述支撑架(11)一侧转动连接有螺纹杆(52),所述支撑块(54)另一侧固定安装有升降块(55),所述升降块(55)螺纹套接在螺纹杆(52)上,所述螺纹杆(52)与转动轴(51)之间设置有第一锥齿轮组(53)。
5.根据权利要求4所述的包装盒环保印刷装置,其特征在于:所述固定组件(7)包括主动压辊(71)、从动压辊(72)和转动杆(73),所述转动杆(73)转动连接在一侧支撑板(21)上,所述从动压辊(72)转动连接在另一侧支撑板(21)上,所述转动杆(73)上固定安装有主动压辊(71),所述转动杆(73)与转动轴(51)之间设置有第一皮带轮组(57),且多个所述转动杆(73)之间也设置有第一皮带轮组(57)。
6.根据权利要求1所述的包装盒环保印刷装置,其特征在于:所述清洁组件(8)包括第一连接杆(81),所述第一连接杆(81)与支撑板(21)转动连接,所述第一连接杆(81)与转动轴(51)之间设置有第二皮带轮组(58),所述第一连接杆(81)上固定安装有第一清洁毛刷(82),所述支撑板(21)上转动连接有第二连接杆(84),所述第一连接杆(81)与第二连接杆(84)之间设置有第二锥齿轮组(85),所述第二连接杆(84)上固定安装有传动板(86)。
7.根据权利要求6所述的包装盒环保印刷装置,其特征在于:所述清洁组件(8)还包括推动杆(87),所述推动杆(87)与支撑板(21)滑动连接,所述推动杆(87)上固定安装有卡接板(88),所述推动杆(87)上套设有弹簧(89),所述推动杆(87)下方固定安装有第二清洁毛刷(83)。
8.根据权利要求1所述的包装盒环保印刷装置,其特征在于:所述底座(1)上方一侧设置有收料箱(12),所述底座(1)上方设置有印刷机构(13)。
9.一种包装盒环保印刷装置的印刷工艺,其特征在于:包括以下步骤:
技术总结
本发明提供了包装盒环保印刷工艺及印刷装置,包括底座,支撑架上方设置有用于存放并带动包装盒上升的存放架,支撑架上方设置有用于推动包装盒上输送带上方的上料辊,支撑板上设置有用于对输送的包装盒限制固定的固定组件,支撑板上设置有用于对包装盒清洁以及自清洁的清洁组件,电机与上料辊、存放架、固定组件和清洁组件之间设置有传动组件,电机通过传动组件带动上料辊转动,同时电机通过传动组件带动存放架上升,上料辊转动将包装盒推上输送带上方,同时存放架带动堆积的包装盒不断上升,上料辊每推动一个包装盒上输送带上方,存放架就会上升一个包装盒的高度,这样可以实现对一批包装盒自动上料,降低人工工作量,提高了印刷效率。
技术研发人员:罗恒,谢俊峰
受保护的技术使用者:安徽新隆泰包装股份有限公司
技术研发日:
技术公布日:2024/1/15




客服